
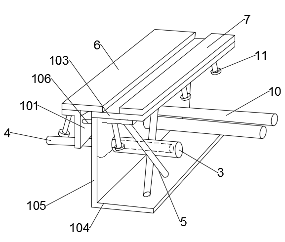
2021年5月7日,北京银泰建构科技股份有限公司(简称BICP银泰建构)申请的专利,通过专利法,国家知识产权局认证,授予并颁发专利证书,专利名称“一种适用于预应力整体地坪的铠甲缝装置。” 该专利为一种适用于预应力混凝土整体地坪的铠甲缝装置:在铠甲缝上预留预应力张拉洞口,提高内置传力杆的钢管套稳定性,增加荷载的有效传递;增加上部盖板,避免使用荷载对缝隙处混凝土棱角造成损伤,同时也达到了美观的效果。

(适用于预应力混凝土整体地坪的铠甲缝整体结构示意图)

(适用于预应力混凝土整体地坪的铠甲缝整体结构透视图)

公司倡导技术创新和技术革新,重点加大对科研的投入力度,积极开展核心技术创新工作,并出台相关专利奖励制度政策,以激发技术同仁申报技术成果的积极性,在全公司不断努力下,多次荣获国家级专利认证,获得业内一致好评。